藏书网
新黄河的文章
在济南高新区舜华路街道凤园社区,提起张艳艳,居民们的脸上总带着信赖与感激。 孩子
社会
2026-01-27 20:34
【#菏泽596名见义勇为者获表彰#】1月26日,菏泽市政府新闻办举行菏泽市“决胜
社会
2026-01-27 20:31
【#菏泽596名见义勇为者获表彰#】1月26日,菏泽市政府新闻办举行菏泽市“决胜
社会
2026-01-27 20:11
记者今天从国家疾控局了解到,本次印度暴发的尼帕病毒病疫情,主要发生在西孟加拉邦,
国际
2026-01-27 20:04
新修订的《中华人民共和国药品管理法实施条例》今天公布。国家药监局表示,这是条例实
社会
2026-01-27 20:04
1月27日,“用生命践行为民情怀的贺娇龙”的表述,出现在今年新疆政府工作报告中。
2026-01-27 20:04
为规范指导蔬菜制品生产许可工作,加强蔬菜制品生产环节质量安全监管,依据食品安全法
社会
2026-01-27 20:04
克里斯托弗·诺兰导演新片《奥德赛》发布新电视预告,曝光Travis Scott出
娱乐
2026-01-27 20:04
新一轮冷空气和大范围雨雪即将登场,这两个雨雪阶段值得关注:今明天西藏高原地区的强
社会
2026-01-27 20:04
#专家建议理财小白继续存定期#【#专家谈低息时代存款到期怎么办#】据华泰证券测算
财经
2026-01-27 18:31
【#湖南安化一学校突发大火#】#官方回应安化一学校突发大火# 1月27日,有网
社会
2026-01-27 18:14
【#贺娇龙写入新疆政府工作报告# ,是高度评价也是回应民意】据:1月27日,“用
2026-01-27 17:50
【#贺娇龙写入新疆政府工作报告# ,是高度评价也是回应民意】据:1月27日,“用
2026-01-27 18:02
【#李昊晒女友比心照#】#李昊说感恩感谢# 27日,U23国足队员发文总结亚洲杯
体育
2026-01-27 17:30
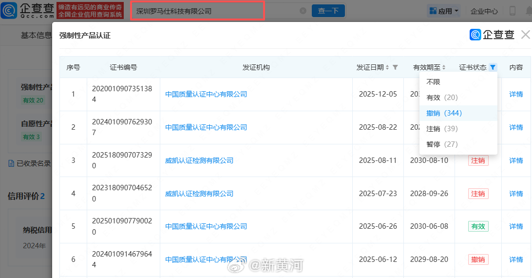
【#罗马仕已被撤销数百张3C证书#】#罗马仕所持股权多次被冻结# 据媒体报道,从
财经
2026-01-27 17:20
【#李昊晒女友比心照#】#李昊说感恩感谢# U23国足队员李昊:感恩 感谢🙏
体育
2026-01-27 17:12
【#罗马仕已被撤销数百张3C证书#】#罗马仕所持股权多次被冻结# 据媒体报道,从
财经
2026-01-27 17:11
【国家疾控局:#尼帕病毒病疫情对中国影响较小#】记者今天从国家疾控局了解到,本次
2026-01-27 17:02
【#丁真工作室已缴清所有税款#】#丁真工作室解释延迟缴纳原因# 近日,四川小马
社会
2026-01-27 16:41
【#罗马仕被处罚#】#罗马仕虚假标注电池容量# 记者今天从市场监管总局召开的2
社会
2026-01-27 15:41
第一页
下一页
新黄河
新黄河客户端官方账号
热门分类
推荐
热榜
军事
NBA
体育
社会
明星八卦
娱乐
财经
科技
汽车
历史
国际
游戏
动漫
公益
搞笑
商业
互联网
数码
国际足球
房产
家居
时尚
科学探索
职场
育儿
股票
教育
影视
情感
热点
中国军情
武器
中国南海
中国足球
亚洲杯
科比
综合体育
CBA
投资
大咖秀
外汇
创业
风口
SUV
豪车
概念车
优惠
新能源
美国
欧洲
朝日韩
俄罗斯
孕期
街拍
婚姻
正能量