【#罗马仕已被撤销数百张3C证书#】#罗马仕所持股权多次被冻结#据媒体报道,从

新黄河 2026-01-27 17:11:43

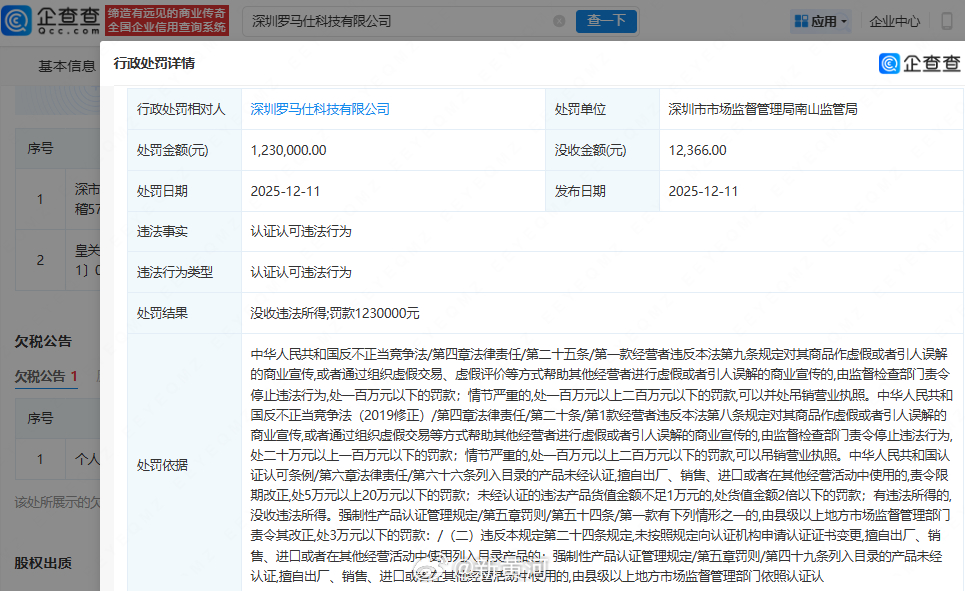
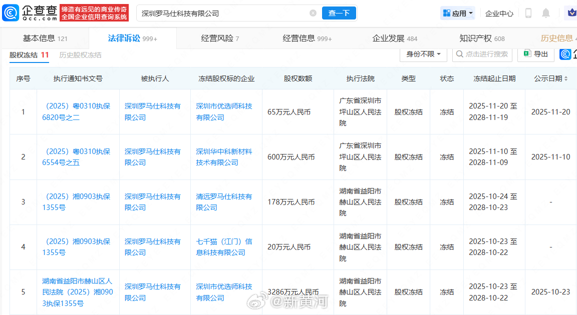
【#罗马仕已被撤销数百张3C证书#】#罗马仕所持股权多次被冻结# 据媒体报道,从市场监管总局召开的2025年综合整治“内卷式”竞争十大重大案件发布会上了解到,全国市场监管部门共查处充电宝相关违法案件1169件,守牢产品质量安全底线。其中,深圳罗马仕科技有限公司违反强制性认证规定及虚假宣传较为典型。#罗马仕被处罚#企查查APP显示,深圳罗马仕科技有限公司成立于2012年3月,法定代表人为雷社杏,注册资本600万元,由雷桂斌、雷灿伙共同持股。企查查风险信息显示,去年12月,该公司曾因违反强制认证规定、虚假宣传,被深圳市市场监督管理局南山监管局没收违法所得1.2万余元、罚款123万元。此外,该公司旗下多家公司股权被冻结,包括深圳市优选师科技有限公司、深圳华中科新材料技术有限公司等。值得一提的是,目前,深圳罗马仕科技有限公司已有超300张3C证书被撤销。#罗马仕被处罚#

0 阅读:0

猜你喜欢

新黄河

新黄河

新黄河客户端官方账号