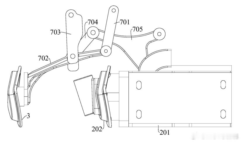
🔻极氪9X伸缩式旗杆安装座(with 电动盖板)🔻所图甚大汽场全开大v聊车
猜你喜欢
【2评论】
【5评论】【1点赞】
【6评论】【1点赞】
【5评论】【6点赞】
【10评论】【8点赞】
【13评论】
皓轩聊汽车啊
感谢大家的关注
作者最新文章
热门分类
汽车TOP
汽车最新文章